Home → News 2016 January
 
 
News 2016 January
   
 

01.January.2016
New Year 2016
The OntomaX team wishs our friends, supporters and fans a happy new year.


02.January.2016
Ontonics Further steps
We worked on a technology once again, and developed a specific variant of it.

We also improved a system and developed our own variants and designs.

iRaiment Further steps #1
We continued the work on a model, that in a specific variant is also the open version of the third model of the Open Glasses project by the OntoLab and iRaiment (see for example issue #11 publicated on the 30th of December 2015), and designed another variant.

Style of Speed Further steps
We continued the work on a technology.


04.January.2016
Picture of the Day
Propeller hat
Propeller Cap
© Costume Craze

With our Head-Mounted Displays (HMDs), other system elements, extensions, and supplements for our Virtual Reality Environments (VREs) by VRontier™ we have them all: amazing displays, internal case and external full-room sensors, high-performance controllers, etc., etc., etc., and much more.
But most important to note, we also have the true killer breakthrough technology, as far as we know, with the VR equivalent to the propeller cap or spinner hat: Air Conditioned Head-Mounted Display (ACHMD).
ACHMD is also available as headset accessory for smartphones (see the related Ontonics Further steps of the 2nd of July 2014).

And our Augmented Reality (AR) solutions are fascinating and will blow you away as well. So much about the tip of our iceberg.

Btw.: Last year, we already have demanded a company, which we think is a fake company that has been created for the only reason to disturb our business, to immediately stop marketing and selling its 3D-printed headset accessory with uncontrolled fan.

Ontonics Further steps
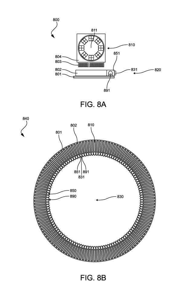
We would like to show how only one slice of a Wireless Supercomp- uter (WiSer) based system, as we have shown in the Style of Speed Announcement AutoWiSer #1 publicated on the 17th of July 2014 and the Further steps of the 1st of February 2015, could look like.

In the example shown in the image below, each WiSer (expansion) card (810) has 8 processor stacks, 4 processors per stack layer, and a vast amount of processor cores. All processors on a single (ex- pansion) card are directly connected (811) in a wireless optical way.
In this embodiment each (expansion) card slot (802) is connected with a coupling device for an optical network (851), that features the laser based optical component (831) for the wireless inter- connect (850) and in this case also an additional optical component (891) for the wired interconnect (891) to an optical ring network (890) on a WiSer slice (840).
The shown WiSer slice (840) has 128 WiSer cards if we counted correctly and we would like to mention as well, that the card key (803) and the card slot (802) can also be realized as an optical connection (see the Further steps and the Original vs. Inspiration of the 13th of July 2014 for additional informations).
WiSer Slice
© Ontonics

Such a WiSer system is the imperative technological and economical prerequisite for applications in the fields of for example:

  • High-Performance Computing (HPC),
  • server farming,
  • cloud computing,
  • networking, especially routing and switching,
  • Artificial Intelligence (AI),
  • Mixed Reality (MR), including Augmented Reality (AR) and Virtual Reality (VR),
  • Home Automation (HA), and
  • Robotics.

    With such a Wireless Supercomputer system, the fusion of data pro- vided by multiple sensors and processors is a child's play performed in O(1), as is the individual processing of these data.
    And this is only the beginning. Our next WiSer generations provide even more computing power.

    When looking at a newer solution, we concluded that another newer solution could be realized in a simpler way with related models of our business units Ontoscope and intelliTablet.

    Furthermore, we realized only now somehow that a new technology of us performs much better and provides the same quantities and qualities when compared with another new technology of us.

    Besides these works, we improved a component of at least two of our foundational technologies significantly.

    Last but not least, as usual, we improved a component of a device. Now, it is even better than better.

    iRaiment Further steps
    We designed a new model of a wearable computer.

    Roboticle Further steps
    We created a new design, name, and marketing story for one of our devices.

    Investigations::Multimedia
    *** Work in progress - not precise enough ***

  • Toyota: Despite our clear and serious anti copyright infringement warning given in the OntoLinux Further steps of the 26th of November 2010, the vehicle manufacturer has infringed C.S.' worldwide copyright in relation with the multimedia work of art, which has been created around the year 2008 in the OntoLab and is summarized as follows:
    "Integration of collaboratively created maps (wiki-map), and image- and video-based 2D and 3D rendering and modeling from collab- oratively created image/photo and video collections, or in other words, (purely) collaboratively created location-based 2D and 3D [(geographic)] information systems. [...] This will be used by our [...](Wiki)Map related activites as well, like our OpenStreetView project."

    In addition, we got from a media report the following informations: "built-in cameras and GPS navigation", "map-generation technology that relies on crowdsourcing to deliver maps that are constantly updated", "its image-matching technology can take measurements from multiple cars and distill it down into a map that's accurate down to a 5-centimeter threshold", and "cloud-based image tech".
    From our point of view it is an obvious copyright infringement, indeed, because it is the same multimedia concept based on crowdsourcing, GPS based mapping and camera based imaging for mapping and some kind of image-based rendering, as well as sharing and cloud computing.

    For sure, this includes that as the first steps a collaborating crowd collects spatial data about the enviroment, generates at least one 2D or/and 3D map out of this recorded geoinformation data, and also takes and shares 2D or/and 3D images and videos of the environment with related sensors of all kinds

    [...] generating a 2D or/and 3D map out of the recorded geoinformation data, and sharing the generated map over a network by e.g. cloud computing techniques. The work also applies post-processing techniques of this data, including image-matching and image-based rendering, to generate 2D and 3D objects, and the mixing of the recorded geographic data with other data, such as the OpenStreetMap for example.

    Actually, our corporation is the only entity that owns an exclusive license for this multimedia work of art and all related projects based on it, specifically the OpenStreetView project. Furthermore, the OpenStreetView project is already used for the MapCloud service by Style of Speed.

    We demand the media not to report anymore about this map generation technology stolen and presented by the company Toyota and even better to inform their readers and viewers about the facts instead, specifically about the true creator and intellectual property owner.


    05.January.2016
    Ontonics Further steps
    As we said, we have more than enough alternatives. One of these alternatives is a flexible display screen, which can be rolled with a minimal radius, which again is substantially lower than 30 millimeters. We will neither disclose how much lower it is nor other quantities and qualities.

    Moreover, we developed a set of devices.

    Furthermore, we developed a second set of devices.

    In addition, we are thinking about a smart television that has a display screen with a thickness of around 2 millimeter and a diagonal of around 71 inch/180 centimeter for a target price less than 5,000 U.S. Dollar (see also for example the Original vs. Inspiration of the 27th of December 2015).

    In relation with our lidar systems 1.0 and lidar systems 2.0 (see the Ontonics Further steps of the 7th of January 2015 and 28th of July 2015) we asked ourselves how we should nickname the lidar 2.0 devices and concluded that the tern marshmallow would be appropriated from a marketing point of view if another company calls a lidar (hockey) puck despite it has the size of a 20 oz peanut butter jar.

    OntoLix and OntoLinux Further steps
    We looked at an exotic Linux kernel based distribution and found some few interesting realizations and optimizations of features already included in our OntoLix and OntoLinux.

    OntoDroid Further steps
    We have designed the new version of our operating system OntoDroid 3, which has a new architecture, new functions, and improved components.
    For example, one new function provided by the new system arch- itecture is the possibility to run OntoLinux, OntoLix, and OntoDroid 3 side by side.

    OntoLab and iRaiment Open Glasses #12
    We have made the decisions about the last details of the design of the project's third model (see the related issues #7 of the 7th of February 2015 and issue #11 of the 30th of December 2015).

    iRaiment Further steps
    We also tried another design of the model we worked on the 2nd of January 2016 (see also the issue #11 publicated on the 30th of December 2015 and #12 publicated today of the OntoLab and iRaiment Open Glasses project).

    Original vs. Inspiration
    1. row: Virtual Research Senztech Video See-Through Virtual Reality Head-Mounted Display
    2. row: Disclosure (1994)

    Virtual Research Senztech → OntoLab VRontier Virtual Reality Head-Mounted Display (VRHMD)
    Disclosure Virtual Reality Environment
    © :(, :(, and Warner Bros. Entertainment

    Our other basic Mixed Reality Head-Mounted Display (MRHMD) has been shown already in the Originial vs. Inspiration of the 26th of March 2015 and the Ontonics Further steps of the 2nd of July 2014. The images below add some more basic components.

    Roboticle Further steps
    We improved a robot.

    We also improved another robot.


    06.January.2016
    Comment of the Day
    C.S.™
    Active Lidar™

    Ontonics Further steps
    In relation with our lidar 2.0 'Marshmallow' system we would like to give the additional information that it works with a frequency of at least 77 GHz.
    In one version the transceiver chip can be mounted directly on a WiSer (expansion) card (see the Further steps of the 4th of January 2016).
    The image below shows a conceptual model of one specific lidar 2.0 model.

    Ontonics LIDAR 2.0 Marshmallow Conceptual Model
    © Knead to Cook

    In addition, we developed the next generation of one of our tech- nologies. This variant comes also in two versions that solve a problem in relation with a specific application of it.

    OntoLix and OntoLinux Further steps
    We added an application for using the spoken dialogue management system of our safe, secure, and even energy efficient Intelligent Personal Assistant (IPA) in a more convenient way.

    iRaiment Further steps
    We are working on another fitness tracker model with an e-paper display.

    Roboticle Further steps
    We have begun the production phase of one of our older robot models. The final robot will cost less than the products of the competitors.

    Furthermore, we have begun the production phase of another older robot model, which is much more superior than the robots of the competitiors.

    We also developed our version of a robot model.

    Moreover, we developed a new robot model.

    Style of Speed Further steps
    We are pleased to announce our new Active Rear-view Mirror exterior and interior components that will set the new standard, as usual with all the works of SoS.

    The new Active Rear-view Mirror are also using our relatively new Active Sensor called Active Lidar (see also the Ontonics Further steps of the 7th of January 2015, 28th of July 2015, and today).

    Since some times, we are also thinking about branding our model ETE:
    A first exemplary variant is equipped with OntoDroid.
    A second exemplary variant is equipped with OntoLix.
    A third exemplary variant is equipped with OntoLinux.
    A fourth exemplary variant could be equiped with OntoWin, but the problem is that we have the foundational operating system not completely developed.

    Needless, to say that this variant could also be a delivery drone.

    We developed a new model of our Scooter product series, with which we have created once again a new genre of commuting after our modern electric kickboard.

    Investigations::Multimedia
    *** Work in progress - not precise enough ***

  • Harman International Industries: As the vehicle manufacturer Toyota (see its case in the Investigations::Multimedia of the 4th of January 2016) the company has infringed the copyright in relation with the multimedia work of art by C.S..
    The difference is that the company Harman thought to be more clever and took not the whole copyrighted concept, but only a fraction of it that its taking pictures in a collaborative way, fuse it with location based data such as GPS, post process the data, and provide it again to one or more persons as part of a GIS.
    The facts that the pictures are only traffic signs, road conditions, parking lots or something like this, and that the images show situations that are dynamic does not change the issue, because it is still an essential part of the work of art and this part is not used in a way that constitutes a new work.

    We demand the media not to report anymore about this map generation or GIS technology stolen and presented by the company with and even better to inform their readers and viewers about the facts instead, specifically about the true creator and intellectual property owner.

    Who is the german automaker, which is its research partner? Volkswagen, Daimler, Bayerische Motorenwerke, Ford, Toyota, or one of the smaller companies?


    07.January.2016
    Comment of the Day
    Wonder Display™

    Original vs. Inspiration
    1. row: NTT Docomo Finger Phone (2004)
    Other rows: Jacob Rynkiewicz Smartwatch with Rotating Bezel Design Concept (9. to 16.March.2012)

    NTT Docomo Finger PhoneNTT Docomo Finger PhoneNTT Docomo Finger Phone
    Jacob Rynkiewicz Smartwatch with Rotating Bezel Design Concept
    Jacob Rynkiewicz Smartwatch with Rotating Bezel Design ConceptJacob Rynkiewicz Smartwatch with Rotating Bezel Design Concept
    Jacob Rynkiewicz Smartwatch with Rotating Bezel Design Concept
    © NTT Docomo and Jacob Rynkiewicz

    See also the compositors of our OntoGraphics component of OntoLix, OntoLinux, and most potentially OntoDroid.

    Clarifiaction #1
    When we label a project as open, then we do not use the term as part of a misleading marketing activity, but indeed mean open hardware, open software, and open documentation protected by a related open source license.

    Clarifiaction #2
    In relation with our Flip-Flop device that feature our flexible Wonder Glass (see the Ontonics Further steps of the 15th of December 2015) we would like to make clear that the flexible display screen, such as a rollable display screen, is embedded in a flexible trans- parent material, the embedding material and the flexible protection glass are directly connected with each other, or simply said they stick together, the at least one flexible (inter)connector of the display device can also have a different shape than an S or a meander, and the at least one flexible (inter)connector can also be the connector of the flexible display screen with the control unit of the display device or a data processing device.
    In this way the flexible but non-stretchy display screen floats in the flexible transparent material on or under the flexible glass without being compressed or ripped.

    The reason for our development of such a flexible visual display device is that the display manufacturers have not provided a tech- nology, which has a small bending angle or bendingradius of around 3.5 cm and provides scratch resistance in addition. Presented were only a display device with a bending radious of around 60 cm or bending diameter of 1.2 m.
    In fact, the display manufacturers cannot provide such a display technology actually, because scratch resistance and small angle or radius flexibility are two opposing physical qualities of the used materials.
    For sure, they are able to lay very small light-emitting diodes on a flexible glass as shown in the Ontonics Further steps of the 15th of December 2015, and use flexible interconnects between them and for the control structures, such as Thin-Film Transistors (TFTs) in the case of an active matrix display. But this kind of construction does not work with a display device that has both a very high resolution and a very low bendng radius. Again, high resolution and small angle or radius flexibility are two opposing technical qualities.

    Another problem with the flexible display screen, which can be bent, twisted, or rolled with a small radius, is that they get wrinkled when bent too much respectively overbent beyond their minimal bending radius, and baggy when bent too much in the same way.
    Here again the Wonder Glass, the housings and hinges, and an optional support layer of our iFlex and Flip-Flop technologies provide protection and keep the display screen nicely shaped.

    We made a comprise and integrated what is available and matured, and hence is truly functioning as a consumer product.

    Said this, we solved all major issues that prevented a market introduction of rollable displays.

    For sure, we also have integrated a touchscreen and developed a complete mobile device realized in the same way of sandwich construction, as announced together with the start of the production phase on the 15th of De- cember 2015.

    Furthermore, the Wonder Glass is delivered by a highly specialized company, the display screens can be produced immediately, and our solutions are already protected or/and patent queueing.

    Collaborating manufacturers are permitted to use our Wonder Display technology for their product promotions, if and only if they make a correct reference to one of the websites of our business units OntomaX, OntoLab, Ontoscope, or intelliTablet.

    Ontonics Further steps
    We continued the work on some of our technologies, which are re- lated with each other, and used a new device developed recently. Alone thinking about the result is fascinating, to say it mildly, but to describe it correctly we have to say the following: While our Augmented Reality (AR) solutions are absolutely amazing and our Virtual Reality (VR) solutions provide even new dimensions at the VRontier, this technology is defining something new.

    In this relation, we are thinking about a buy back or discount program for customers of Head-Mounted Displays (HMDs), who are disappointed with the performance of other companies, such as Facebook→Oculus Rift and HTC for example, because we want that our customers are happy with us.

    We are also thinking about a price tag of less than 300 U.S. Dollar for our entry level Virtual Reality Head-Mounted Display (VRHMD) that provides at least the same features and performances as comparable devices. The only difference is that a specific game controller is availabe as an option.

    In addition, when we looked at one of our new technologies, we concluded that it can be done even better. Said this, we added new functionalities and even generalized the initial concept.

    Furthermore, we integrated the new generalized technology with another technology.

    iRaiment Further steps
    We have begun the production phase of a new product series that apply our smart eyewear technologies.

    OntoLab and Roboticle Announcement Open PBot #1
    The Open PBot is a system platform for personal robot, which is based on:

  • the hardware and software of our Open Pino project already existing since more than a decade,
  • an mobility section with at least 2 wheels for example arranged in the dicycle configuration, and
  • open version of our 3D camera module (see the Ontonics Further steps of the 20th of January 2015).

    See also the Clarification #1 of today above.

    Style of Speed Further steps
    We have worked on our E-dashboard and added at least three new technologies, which sets it once again apart from the rest, as usual for the original.

    Furthermore, we developed another new interior concept based on new technologies.


    08.January.2016
    Comment of the Day
    Vront™

    Ontonics Further steps
    We developed a new Mixed Reality (MR) headset accessory.

    Besides our amazing technological developments we are thinking about expanding our collaboration with the Walt Disney Company beyond 3D mobile devices (see for example the intelliTablet Further steps of the 30th of December 2011 and 11th of July 2014, and also the Ontoscope Further steps of the 22nd of January 2014, 23rd of June 2014, and 20th of September 2014).
    The only preliminary information we can give actually is:
    The Grid 3.0.

    We also integrated two relatively new solutions of us to improve one of these solutions. The result looks a little crazy, but using it is absolutely amazing and the latter is surely more important. Wow.

    In addition, we continued the work on a new mobile device. Now, we have two different variants and can start the production phase.

    Furthermore, we continued the work in relation with one of our mobile devices.

    And we continued the work on one of our systems. In this conjunction we used or integrated different devices in a smart way and are wondering now why others have not seen this solution.

    OntoDroid Further steps
    We found an interesting solution for a problem, that exists since a longer period of time.


    09.January.2016
    Ontonics Further steps
    We have started a new project that is developing a new complete product series.

    Furthermore, we continued the work on an older system. In this development step we extended the system by the combination with another system, which provides both foundational systems much more flexibility and increases their qualities, but also constitute a totally new platform for an overall system. This is definitely the next generation of all applied technologies and applications. This is really great.

    We also improved the service of one of our business units, that has not been started officially so far.

    Moreover, we improved a technology by our reengineering. The results look a little ridiculous in the first moment, but it is one of our projects that we call dangerous, because it has this viral potential. Said this, also for us it is highly interesting how its story evolves.
    In a subsequent step, we developed two devices.

    And then the magic happened in our OntoLab, the original Lab of Visions:
    We looked in our stocks and found two basic subcomponents, which are ideal for the construction of this technology because of their extremely high performances, reliability, and other characteristics.
    And then one of our business units said it wants it as well. So we developed a third device.
    And then we saw, that we can exploit the high performances of the subcomponents with a second variant of this technology.
    And then we saw, that we can exploit the high performances of the subcomponents for the integration of a related technology.

    And then one of our other business units said it wants it as well. So we developed a fourth device.

    In relation with another field of technology, we developed our variant of a device. If nobody else has seen its potential before, then it could become the next revolution of us.

    After we saw how huge the potential of a technology truly is, we continued with its development and also started its production phase. Our fans and readers have to wait a little time and see theirselves that this is definitely a revolution.

    Besides specific device developments and improvements, we have developed general technologies with extreme characteristics as well today.

    Finally, we optimized one of our production processes by solving a foundational problem in a very elegant way.

    OntoLix and OntoLinux Further steps
    We continued the work on a component of our Ontologic Systems. The final result has the potential to become a burner.

    In combination with other components we will easily prove our lead in this field as well, and also in the field of essential hardware.


    10.January.2016
    Comment of the Day
    OntoZen™

    Ontonics Further steps
    We solved a security problem by simply throwing out the malicious device and replacing it with separated components, which we have under control.
    In this relation, we also improved a foundational modul, so that it does not only provide a function, but also manages it.

    In addition, we have finalized our network obfuscation function. MAC filtering and similar approaches are done.

    In relation with the technology improved yesterday, we made a first estimation of its increased performance.
    By a further step, we also integrated this technology with an older technology of us.
    One very interesting point is, that with the latest improvement and integration the increased performance might have exceeded a specific break-even point, which would make it a little revolution.

    Furthermore, we have worked on an older technology, so that it becomes more interesting due to its increased applicability and affordability.

    Furthermore, we developed some new variants of our newest devices and played around with them.

    When looking at some of our newer technologies, we had to realize that we have left the theoretical research and entered the practical development already.

    While thinking about our latest hypersoar designs, their shock wave forming, and some kind of a sonic boom suppressor, we used some principals of physics and informatics to solve the teletransportation paradox, also known as duplicates paradox in alternative forms, for a possible realization of teleportation.
    In short, a teleporter, which can generate identical clones of an individual, is impossible in the observable universe. At least for the moment.

    Please, do not confuse a teleporter with a jumpgate or stargate.

    Besides all these developments, we started a new business project.

    We also used a software technique of our safety and security suite for the development of a new advertisment blocker, which cannot be circumvented by webiste owners.

    OntoDroid Further steps
    Today we would like to give a first outlook on some basic features of our Ontologic System (OS) OntoDroid, which comprise:

  • the complete support of and by the Linux kernel based operating system Android,
  • our completely customized and customizable Graphical User Interface (GUI), inclusive home screen,
  • our safety and security suite,
  • our Ontologic Information System (OIS), the first Search, Find, and Information (SFI) engine based on our Ontologic System (OS) architecture, presented the first time on the 26th of August 2013,
  • and much more.

    In this relation, we looked at some last details of our software stack and the Graphical User Interface (GUI).

    Before we could go into the details in relation with the realization of our geographic obfuscation function, we found a related application, which showed us the way literally spoken.

    We also thought about a technical detail of the implementation of our approach and concluded that we can realize much more easier and elegant.

    OK Onto, ...

    OntoZen Further steps
    We are pleased to announce our latest Ontologic System (OS) with OntoZen, which is based on the Linux kernel based operating system Tizen.

    OntoZen can also be run together respectively side by side with OntoLix, OntoLinux, and OntoDroid as well (see also the Further steps of the 5th of January 2016 for example).


    11.January.2016
    Comment of the Day
    "David Bowie, one of the few who taught me what it means to have style.", [C.S., Today]

    Bluebird species:

  • Eastern bluebird, Sialia sialis
  • Western bluebird, Sialia mexicana
  • Mountain bluebird, Sialia currucoides

    See also the Picture of the Day of the 13th of May 2013.

    Ontonics Further steps

    We continued the work on a technology with the focus put on its suitability for safe and secure mass use.

    Roboticle Further steps
    We developed another variant of two related robot models.
    But with this development some parts of the new robot models became similar with other devices. This leads to a broader system somehow and shows how well our different system architectures are designed, so that they fit perfectly together due to a synergetic effect inherent by perfect work.

    Style of Speed Further steps
    As announced, we give the first sneak preview on the 91x project that we announced in the Further steps of the 24th of December 2015.
    The design proposal is based on our works in relation with the 9x9 and 91x projects, and the next results of the predicted attempt to steal our 9x9 conducted by an automotive marque.
    Style of Speed 91x Front Engine
    Style of Speed 91x Front Engine
    Style of Speed 91x GT Front Engine Wing
    Style of Speed 91x GT Front Engine Wing
    © :I and Style of Speed

    It can be seen nicely in the sketches, how we have arranged the powertrain in a different way at first (see the related Further steps and World Premieres of the 8th, 20th, 27th, and 29th of December 2015) to create the freedom and literally spoken the space for our totally new designs not possible in this way before.

    We are also thinking about making the 91x project the next gene- ration of our model 9!. Doubtlessly, the story and the interior of the 9! fit perfectly.
    The last problem is related with the headlights, because on the one hand we do not know if the 9x9 or the 91x model series gets the round respectively eliptic headlights (see the Further steps of the 16th and 17th of September 2015) and on the other hand we made the decision in relation with the model 949 already, which has the headlights that would also fit very well to the 91x model series.

    In addition, it can be seen how the evolution of the initial model, the 911, to our model 9ii is realized, which is already the next model generation. Yes, indeed, the time has come.

    We also would like to show another image in relation with the model S4S of the Unicorn Blade series (the first image can be seen in the Further steps of the 8th of December 2015), which has been inspired by the hot road style Speedstar Vicky as well.

    Style of Speed S4S
    © :I and Style of Speed

    Obviously, we can speak a totally different design language and construct extraordinary sports cars and hypercars now.


    12.January.2016
    Comment of the Day
    Cleaner than Clean™

    Ontonics Further steps
    We continued the work on the technology mentioned in the Further steps of yesterday. This time, we added another technology, which we think is very useful and still fascinating despite its age.

    Furthermore, after we were reminded about two older technologies and their older integration we saw the huge potential and developed two new variants of the integrated technology. Really good.

    Style of Speed Further steps
    We developed a propulsion system that can be simply described with our new slogan for environmental friendly solutions: Cleaner than Clean.

    In addition, we are pleased to announce our new 2³ propulsion system, which is another masterpiece of engineering developed by SoS (see also the related Ontonics Further steps of the 19th of December 2015 for example).
    At first, we could not make a decision due to the many excellent alternative high-technologies lying in our stocks. But then we re- membered some real circumstances and suddenly the right direction could be seen. Even better, as it is the case in our other business units, the same synergy effect happened in relation with these technologies as well. Mega wonderful.

    Furthermore, we configured a propulsion system for special demands.


    13.January.2016
    intelliTablet Iri #10
    We developed another variant of our modular mobile device platform, which applies a new technology developed by Ontonics recently, and more modules.

    Ontoscope Further steps
    The last developments of intelliTablet's Iri project are so excellent, that we want to use them for an Ontoscope model as well.

    Style of Speed Further steps
    We are pleased to announce our first personal helicopter, which is eligible for certification by the Federal Aviation Administration.
    Our helipod has the same foundational features like our Powered Lift Aircrafts and Autocopters, which comprises:

  • safe architecture by design,
  • Multimode™ Intelligent Control System, with piloted or life-flight mode, remotely piloted or semi-piloted mode, and autonomous mode, as known already from our pioneering original Powered Lift Aircrafts and Autocopters,
  • flight range of at least 200 miles/ 321 kilometers,
  • maximal velocity of up to 123+ MPH/198+ km/h/106+ kt, and
  • many more proprietary technologies of us.

    The images below show older designs of "man's alleged answer to the problem of bumper-to-bumper jams" created in the years 1962 and 2007, which have been improved by us in every aspect.

    Helipod
    Helipod 2.
    © :( and :(

    We are pleased to announce our first personal multicopter, which is eligible for certification by the Federal Aviation Administration.
    Our personal multicopter has the same foundational features like our Powered Lift Aircrafts and Autocopters, such as the Flight :) (Flight Fun) for example, which comprises:

  • safe architecture by design,
  • Multimode™ Intelligent Control System, with piloted or life-flight mode, remotely piloted or semi-piloted mode, and autonomous mode, as known already from our pioneering original Powered Lift Aircrafts and Autocopters,
  • a flight range of at least 200 miles/ 321 kilometers,
  • a maximal velocity of up to 123+ MPH/198+ km/h/106+ kt, and
  • many more proprietary technologies of us.

    Our personal multicopter also features the new design especially developed for a Personal Aerial Vehicle (PAV), which we mentioned in earlier issues of the Further steps.

    In addition, we would like to give the information that our platforms for autonomous vehicles, K.I.T.T.™ and K.A.R.R.™, have become even better in the last weeks. Before they were already able to handle bad weather conditions, such as fog, heavy rain, and even snow fall. But now our K.I.T.T. and K.A.R.R. can also drive in com- pletely muddy and snowy environments.

    Indeed, we get the job done. All alone.

    Btw.: We have not seen any other vehicle manufacturer, that really understood the complete problem space of autonomous driving and we do not expect to ever see anyone with the exception of those, that have taken our intellectual properties.

    We also developed a new aircraft model, which has a specific feature that is an advantage but also a problem of such an aircraft type.


    14.January.2016
    Ontonics Further steps
    We are pleased to announce the first mobile devices, such as a smartphone, an intelliTablet, and an Ontoscope for example, with a runtime of 10 days and longer.

    Depending on the variant these new intelliTablets and Ontoscopes are waterproof to a depth of at least 3 meters (IEC standard 60529; IP68) as well.

    Evolution is too slow for us.

    intelliTablet Iri #11
    We developed another model and a new module for our modular mobile device platform.

    Style of Speed Further steps
    Since quite some time we are working on the next generation of our E-SUVs, which is short of its finalization and will redefine this market segment.

    Furthermore, we decided to make the 91x project the next gene- ration of our model 9!, as suggested in the Further step of the 11th of January 2016.
    We also made progress in relation with some last elements of its design, so that it can be put into the feature freeze state as well.

    We also worked on some few details of the exterior design of our 4-seater models of the 9x9, Prancing Unicorn, and Unicorn Blade series, which are related with the trunk lid for example.

    Another consideration is related with a convertible version of the 4-seater models, specifically of the model S4S (see for example the Further steps of the 8th of December 2015 and 11th of January 2016), which is inspired by the hot rod style Phaeton.

    Besides these works in relation with surface vehicles, we also took some time to continue with the investigation of a problem with a special type of aircraft (see also the Further steps of the yesterday) that we are conducting since many months.
    Luckily, we finally found out what the cause of the problem is and how it can be solved in a simple but still elegant way, so that we have on the hand a foundation for decision making and on the other hand a solution, that might also be interesting for comparable air- craft types.
    We also a designed another version or model of said aircraft type, which is based on this solution.
    Now, we have not only a foundation for precise decision making, but also the selection problem.

    And finally, we are pleased to announce the first powertrain for an electric vehicle, that has:

  • a battery,
  • at least one electric motor,
  • the same driving range,
  • a replenish time of 3 to 4 minutes, and
  • a price around the same as a common powertrain.


    15.January.2016
    Submission for modular platform Iri has begun
    The submission phase for our modular mobile device platform Iri has begun, which comprises the related smartphone, intelliTablet, and Ontoscope models.
    Be quick and save the exclusive production rights for the next killer mobile devices.

    Rock 'n' Roll

    Style of Speed Further steps
    As part of the works related with our e-quattro series, we have improved the fuel cell of our model RE, which would be the original of the not existing model R8 h-tron (for other RE models see the Further steps of the 19th of September 2015).

    Furthermore, our Green Speed model Elettoro, the Electric Bull, also got the improved fuel cell technology, which has 3 new system components.


    16.January.2016
    Comment of the Day
    Smarter than smart™

    Ontonics Further steps
    It has become obvious that the U.S.A. and other countries need more weapons, because the governments are still unable to protect their citizens.
    That said, we have designed new high-performance self-defence devices of the next generation in the last days.

    We also improved our obfuscation function without a reduction of the user comfort for sure. In this way, a search engine provided by a company can be used in conjunction with an online or web mapping service provided by another company or an organization without the problem that one single entity knows who is doing what at which place, though by the other obfuscation measures a single service provide does not know at all who or where a user is.
    Needless to say, this only works with a trustworthy operating system such as OntoLix, OntoLinux, and OntoDroid.

    Smarter than smart™

    OntoLix and OntoLinux Further steps
    We have developed a special variant of a foundational component, that is based on a special framework. We already have used this framework for a part of this foundational component, but now we applied it on the lowest level of it.
    Maybe it is only worth for academic reasons.

    Style of Speed Further steps
    We are very very very super proud for all reasons to inform the public about our new and revolutionary propulsion system for our Blended Wing Body (BWB) aircraft model BWB-1/White Eagle and our Hybrid Wing Body (HWB) aircraft model HWB-1/Agile Eagle, as well as ordinary aircrafts (see also the Further steps of the 12th of January 2016).
    Once again we were able to write aeronautics history with our next achievements, that are so groundbreaking and redefining the whole sector, which makes it very hard to describe in words.

    But why stop when the party has just started? Said this, we added two more Vertical Take-Off and Landing (VTOL) variants of our HWB-1/Agile Eagle.

    We promised to revolutionize air travelling.
    We claimed that we land on an area with the size of a football field.
    We said to make it compatible with the other transport systems.
    Now, we kept promise and made it true.


    17.January.2016
    Ontonics Further steps
    We improved one of our hardware based obfuscation techniques by applying a well known encryption techique in a different way.

    We do not know why, but we continued with the work on the tech- nology of our stargate or jumpgate.

    Please, do not confuse a jumpgate or stargate with a teleporter.

    Furthermore, we thought about the combination of two approaches, but we do not know what will happen when a device based on it will be operated.

    Style of Speed Further steps
    We would like to inform our readers that the next researcher has confirmed the physical foundations and the correctness of the theoretical concept behind the functioning of our warp drive that we developed together with our space ship model Twin Ion Engine Royal (TIE R)/LightSwift.
    In detail, our original description, that references several physical foundations and theories, and also quotes the example with the honey, was substituted by an explanation based on terms such as superfluid Magnus effect without adding (substantially) new matter.

    It is slowly but continuously becoming a fact, that C.S. has deve- loped another breakthrough marvel of technology only thought to be possible in comic books and science fiction novels and movies, and maybe also the related theoretical concept of the so-called super- fluid Magnus effect.

    In this relation, we also note that we would like to:

  • follow the tradition in this field of technology and name our warp drive Stroetmann Warp Drive or simply Stroetmann Drive, though the latter might be the source of confusion with other drive- and propulsion systems developed by Style of Speed,
  • give the preliminary information that we have already developed the Stroetmann (Warp) Drive 2.0, which once again has an optimized energy consumption among other improvements, and
  • quote Zefram Cochrane a further time: Rock 'n' Roll.

    Have our fans really thought that we would simply convert the model Aventador of the marque Volkswagen→Audi→Lamborghini to our model S4S of the Unicorn Blade series? No, for sure this is not the case, but instead we are thinking since several weeks to continue with the overwork of the design concept called Type C8 of Maxime de Keiser, which is shown in the image below, for the next genera- tion of our model RE or for the models S0S, which seems to be a source of the inspiration behind this concept, and S4S, because we got the opinion that the design would also fit very well for them.

    Maxime de Keiser→Type C8 ∧ Style of Speed → S0S and S4S
    © Maxime de Keiser with some first overwork by Style of Speed

    Furthermore, our Elettoro has become one of the models of the Unicorn Blade series.

    Another consideration made in the last days is related with the possibility to merge the models RE and Elettoro into one model, though we would like to keep the RE. Said this, another possibility is to merge the RE with the i!, j!, and k! model series.


    18.January.2016
    Ontonics Further steps
    In the last days, we thought about an older business unit and a new business unit in the field of air transport services.
    For both business units our other business unit Style of Speed has developed new rotorcraft models and airliner models over the last years, that are based on proprietary high-technologies of cooperating companies and us, and provide our air transport services exclusive and decisive technological as well as economical advantages in the competition for more than the next 10 years, which results in a reduction of common prices in this market sector by at least 20%.

    In addition, we are looking for constructive collaborations with other aircraft manufacturers and airlines in Asia, South America, and other areas that have the goals to expand the use of our technologies, machines, and services for further cost cuttings and business expansions.

    Furthermore, we are pleased to give the informations that our internal business division for solar technology has complemented its product portfolio with the next generation of advanced solar panels, very cost effective high voltage batteries (see the related Further steps), and now also related high performance power inverters delivered by our U.S.American and P.R.Chinese partners.

    Instead of waiting for a time far away in the future when travelling with firework rockets might have become safer, we thought about a problem with our stargate, aka. jumpgate: How can we set the destination gate at the end of a wormhole without visiting the time or/and space at first?
    For sure, one solution is to fly a LightSwift with a mobile stargate on board to the destination and reuse it as stationary stargate at this place. But maybe another possibility exists?

    We also developed a simple but therefore elegant counter argument that a traversable wormhole is possible without exotic matter in contrast to explanations based on the Raychaudhuri equation and sketched a related concept.

    Another activity was related with continuing the development of one of our fantastic technologies, which is quickly moving from the research and development over the prototyping to the production phase.
    In this relation, we also thought about the extension of its applica- tion range and other applications based on one of its component.

    Finally, we developed another version of a module, that can be used with different devices.


    19.January.2016
    Style of Speed Further steps
    We have designed four more aircraft models with dfferent sizes and configurations.


    20.January.2016
    Ontonics Further steps
    We switched off the silent Short Message Service (SMS).

    In addition, we took a quick look at the details of the security vul- nerabilities of the telephony signaling protocols set Signalling System No. 7 (SS7) and SnoopSnitch. Now, we are rubbing our eyes and wondering about alle those nonsenses going on there. Even the most common security measures taught since more than 3 decades are not implement and applied.
    How about hardening SS7 or even better making it contemporary?

    At this point we do not want to forget to mention that our system is designed to circumvent all these vulnerabilities most of the time and space.

    Another new development is using a module of a special weapon system to decrease the reaction time, specifically the launch time, as well as the cost of one of our missile systems significantly.
    As we explained before, the missile systems of other entities are useless.

    In relation with one of our electric energy storage devices we made the asumption that its construction might solve at least one found- ational problem as a side effect (see the related Further steps).

    Furthermore, we have decided to ramp up the start of the product- ion phase of one of our display technologies and the devices based on it, which provide outstanding qualities.

    Last but not least, we thought about using a special material in a different way for making at least one of our devices safe enough, so that we can start its production as well


    21.January.2016
    Ontonics Further steps
    We looked another time at the special material mentioned in the Further steps of yesterday in a different way and assumed that it can be integrated with a technology.


    22.January.2016
    Comment of the Day
    "The best of politics is change."

    Ontonics Further steps
    We worked on two specific versions of a device. Two good points are that we have all materials, components, modules, and even a simple functional device, which proves the overall concept on the one side and on the other side all parts fulfill our requirement specifications. But a bad point is that we do not know exactly how one module is functioning and therefore we cannot construct our device versions with their maximal performance at this time. But another good point is that we will figure this out in the near future.

    Another work conducted today is to use a material for the con- struction of some modules in an advantageous way.

    We also continued the work in relation with another technology and reached our first goal that is to get more and more familiar with its foundations and possibilities.

    Roboticle Further steps
    We adapted a device for the use with several models of our robots.


    23.January.2016
    Picture of the Day
    Upside down snowman

    Upside Down Snowman
    © :(

    TaaaDaaa!!!

    Ontonics Further steps
    We do know now how the one module is functioning, which was mentioned in the Further steps of yesterday.

    TaTaTaDaaa!!!

    We also used a material for the construction of a module in another advantageous way.


    24.January.2016
    Style of Speed Further steps
    The image below shows the second doodle of the seat configuration of our model S4S. As it can be easily seen, the full-fledged seats for the rear passengers are large and very sporty or comfortable depen- ding on the chosen interior options.

    Style of Speed S4S Seat Configuration
    © :I and Style of Speed

    Needless to say, the image does neither show the final design lines nor the final dimensions. For example, the headroom for the rear passengers will be larger.

    For the first impressions of the exterior design see the webpage of our model S 0 S (Stratos Zero Speciale) and the Further steps of the 8th of December 2015, 11th of January 2016, and 17th of January 2016.


    25.January.2016
    Ontonics Further steps
    In the diagram shown below:

  • the blue line marks the targeted production cost for a barrel of our very high quality oil of the second generation and
  • the red line marks the targeted production cost for a barrel of our oil after the complete production ramp-up.

    Cost of Producing a Barrel of Oil
    Source: Rystad EnergyUCube (Upstream Database)
    © :I

    Style of Speed Further steps
    We improved the aerodynamic performance and the operational reliability of our helicopter and multicopter rotor blades, which includes a low-weight deicing system as well, in a very elegant and cost effective way not done before.


    26.January.2016
    Picture of the Day
    Céline Lamée My Little Putin

    Céline Lamée My Little Putin
    © Céline Lamée

    See also the Picture of the Day of the 10th of January 2015.


    27.January.2016
    Comment of the Day
    "Petropennies", [Royal Bank of Scotland]

    Style of Speed Further steps
    We improved our sonic boom suppressor, which should work now even without canceling the aerodynamic lift generated by the body and wings (see the Further steps of the 30th of November 2015).

    As a consequence, we also thought about the construction of a slower supersonic or hypersonic airliner.

    It is now up to the governments to allow supersonic overflight again, so that we can continue to build up our empire in this market sector as well.


    28.January.2016
    Comment of the Day
    "The world is not drowning in oil, but in bull$h!t."

    Picture of the Day
    Emoticon Thumbs Down or Dislike Reaction

    Emoticon Thumbs Down or Dislike Reaction
    © :(


    29.January.2016
    Ontonics Further steps
    In relation with the new business unit in the field of air transport services mentioned in the Further steps of the 18th of January 2016 we gave our other business unit Style of Speed the commission to develop a quiet supersonic airliner (see the Style of Speed Further Steps of today below) used as a Coast Hopper on large continents for example.

    In this respect, we demand the Federal Aviation Administration in the U.S.A. and similar authorities in other countries to define and install new provisions that:

  • allow supersonic overflight and set exact rules and limits, for example
    • sound or acoustic force at specific heights,
    • flight corridors if any,
    • etc.,
  • allow Vertical Take Off and Landing (VTOL) aircrafts in urban areas and set exact rules and limits, for example
    • size of aircraft,
    • requirements for airports and their start and landing pads, such as for example football fields (see the image below) or parking places,
    • local safety measures,
    • etc.,

    and

  • allow Aerial Snow Mobiles (ASMs), Aerial Snow Vehicles (ASVs), or Snow Aerial Vehicles (SAVs), as described in the Style of Speed Further steps of today, and set exact rules and limits,

    so that we can certify and operate our aircrafts and services legally and safely.

    Style of Speed BWB-1/White Eagle on Football Field
    © :(

    Style of Speed Further steps
    Since quite some time and specifically after the last blizzard again, we are working on an Aerial Snow Mobile (ASM), Aerial Snow Vehicle (ASV), or Snow Aerial Vehicle (SAV), which is a Vertical Take Off and Landing (VTOL) aircraft with the ability to start, fly, and land even in strong wind, rain, and snow, as well as ice conditions.
    Needless to say, such an aircraft needs several special features only available from us at Style of Speed and the other business units of the Hightech Competence.

    In addition, we got the commission from one of the air transport service business units to develop a quiet supersonic airliner, which is based on the latest developments of our sonic boom suppressor mentioned in the Further steps of the 27th of January 2016.
    For this task, we will use one of our newest jet engines as well.

    Another technology we are working on since quite some time as well, is the propellant system of an engine. Today, we looked on details of its construction and improvements, and also on the overall engine performance.
    With so many advantages provided by this engine, such as its in- credibly high performance, usability, practicability, and for sure cost effectivity, other technologies for the same task have become simply said obsolete.


    30.January.2016
    Ontonics Further steps
    We also adapted a technology respectively developed a specific variant of a technology for revolutionizing photography once again.

    Style of Speed Further steps
    We decided to set the foundational design of our first Vertical Take Off and Landing (VTOL) airliner into feature freeze state (see also the Further steps of the 16th of January 2016 and yesterday, and the Ontonics Further steps of the 18th of January 2016 and yesterday).

    In the subsequent step we selected the tested models and available tech- nologies, which reduce the last research and development tasks and make a quick prototyping, construction, testing, and certifying possible.

    The following list gives some preliminary informations about its specification and operational features:

  • very large for its type with 100, 200 or more seats in the single decker variant,
  • very safe,
  • very quiet,
  • very short total trip times by
    • extremely short boarding and deboarding times comparable with high-speed rail,
    • VTOL operation,
    • high cruise speed of 250 mph/402 km/h and more,
    • doorstep-to-destination from or to small rural communities and major cities, and
    • straight flight paths,
  • very efficient, as well as
  • very flexible operation by
    • arbitrary start and landing places, and
    • cycle operation option on a minutely or hourly base for example,

    which makes it highly disruptive in the related transport sectors.

    Interested investors can already begin with the restructuring of their investment portfolios.

    Investigations::Multimedia

  • Ford: After several entities, such as for example the companies Tomtom (see its case in the Investigations::Multimedia of the 29th of April 2011) and Nokia with their navigation and mapping products and services, and recently the vehicle manufacturer Toyota (see its case in the Investigations::Multimedia of the4th of January 2016) and the manufacturer of audio products Harman International Industries (see its case in the Investigations::Multimedia of the6th of January 2016), the company Ford is also trying to use a part of or the whole multimedia work of art by C.S. in relation with crowdsourced, postprocessed, and shared geographical data and pictures without respecting the copyright.
    In detail, Ford took a similar approach like the company TomTom and presented it in the following way: Autonomous vehicles cannot use objects on the ground and at the roadside for navigation in snow conditions. To solve this problem, its solution uses informations about an environment, such as pictures of buildings and landmarks for example, that were taken in conditions free of snow and collected on its server(s) for further processing and using.
    The critical point here is how the sensor data (e.g. location data and pictures) are taken: Either they are taken by e.g. a fleet of special automobiles, such as it is done by the companies TomTom and Nokia, which we do not see as a problem as long as all the vehicles are really owned by one entity (also excludes leasing of cars as well as pictures and other sensor data owned by customers or other such measures), or the sensor data are taken and sent to a central server by the vehicles of the customers as part of a crowd- sourcing activity, where they are processed and connected with spatial or geographical data potentially also collected by the vehicles of the customers, such as it has been presented by the companies Toyota and Harman, which is an essential part of said multimedia work of art and used in the same context and the same way to express the same original idea, and therefore a copyright infringe- ment from our point of view (see for example the Comment of the Day and the Pictures of the Day of the 25th of July 2013 and the related text).

    Btw.: All mobile device and mobile operating system manufacturers are very short before infringing the copyright related with the multimedia work of art called Ontoscope, or might have breached already the copyright like it seems to be the case with for example the joint venture of Google and Lenovo.


    31.January.2016
    Comment of the Day
    Social Mobile Service™

    Ontonics Further steps
    We are working on our next business unit, that is the ultimative telephony and internet service provider.
    Some of its specials are the worldwide first Social Mobile Service™ (SMS) contracts, which comprise for example a mobile internet flat rate for free*.
    Other super contracts comprise highly attractive video streaming flat rates and much more services with mega rates for our superpower users that are defining the way how the world is. :D

    * exclusive video streaming, and only in conjunction with a mobile device for 12 months from buying date and an account for the social service and short messaging service platform of the C.S. GmbH.

  •    
     
    © and/or ®
    Christian Stroetmann GmbH
    Disclaimer